 |
 |
|
 |
 |
Приводная техника

Вся продукция сертифицирована. Мы будем рады видеть Вас клиентом нашей компании.

|
|
 |
 |
 |
Планетарные мотор-редукторы 3МП-31,5, 3МП-40, 3МП-50, 3МП-63, 3МП-80, 3МП-100, 3МП-125 |
|
 |
 |
Планетарные мотор-редукторы 3МП-31,5, 3МП-40, 3МП-50, 3МП-63, 3МП-80, 3МП-100, 3МП-125
Техническое описание
Условия применения
Габаритные и присоединительные размеры
Варианты сборки
Технические характеристики
Техническое описание
Планетарные мотор-редукторы серии 3МП-31,5, 3МП-40, 3МП-50, 3МП-63, 3МП-80, 3МП-100, 3МП-125 применяются в качестве привода различных станков и машин. Мотор-редукторы серии 3МП позволяют получить широкий диапазон частоты вращения в пределах 3,55 – 560 об/мин. Мотор-редукторы могут иметь одну или несколько ступеней редукции которые располагаются в едином чугунном корпусе. Основой редуктора является планетарная передача, состоящая из сателлитов, солнечной и коронной шестерни. Редукторы имеют превосходный КПД, что позволяет использовать их в тяжелых условиях в длительном режиме.
Планетарные мотор-редукторы серии 3МП характеризуются:
-
нагрузка на выходной вал может быть переменной или постоянной;
-
направление вращения в любую сторону без потери скорости и момента;
-
работа мотор-редуктора возможна в неагрессивной, невзрывоопасной внешней среде;
-
внешняя среда где будет эксплуатироваться редуктор должна быть неагрессивная и не взрывоопасная;
-
окружающая температура не должна превышать показателей -45 и до +45 градусов, а влажность более 80;
-
редукторы могут эксплуатироваться в длительном режиме без ограничения нагрузок.
В грузоподъемном оборудовании допускается использовать мотор-редуктор серии 3МП только в комплектации с электротормозом.
На данный момент промышленостью России выпускаются серийно: 3МП-31.5, ЗМП-40, 3МП63, 3МП50, 3МП100, 3МП80, 3МП40, 3МП125, а также 4МП-31.5, 4МП-40, 4МП63, 4МП50, 4МП100, 4МП80, 4МП40, 4МП125
1. Мотор-редукторы 3МП-31.5
2. Мотор-редукторы ЗМП-40
3. Мотор-редукторы 3МП-50
Расшифровка обозначения, указанного на шильдике редуктора:
Скажем вы покупаете 3МП-40-112-3,0-G110-Ц-Т2, 380В, ТУУ 29.1-24587406.002-2010 Это значит, что:
3МП – тип, мотор-редуктора;
40
– радиус, на котором располагаются оси сателлитов, указанный в миллиметрах;
112 – номинальная частота вращения вала;
3,0
–мощность электродвигателя, кВт;
G110 – конструктивная особенность при монтаже;
Ц– тип производства выходного вала;
Т2 – категория и климат в котором может эксплуатироваться агрегат;
380В – напряжение, которое использует при работе агрегат.
ОСНОВНЫЕ ТЕХНИЧЕСКИЕ ХАРАКТЕРИСТИКИ
МОТОР-РЕДУКТОР 3МП-25 |
Номинальная частота вращения выходного вала, об/мин |
Номинальный крутящий момент на выходном валу, Н.м |
Комплектующий электродвигатель |
Допускаемая радиально-консольная нагрузка на выходном валу, Н |
КПД редукторной части, % |
Масса редукторной части, кг (не более) |
Марка |
Мощность, кВт |
трехступенчатые |
3,55 |
90 |
АИР56А4 |
0,12 |
800 |
95 |
9 |
4,4 |
90 |
АИР56А4 |
0,12 |
5,6 |
90 |
АИР56А4 |
0,12 |
7,1 |
81 |
АИР56А4 |
0,12 |
9 |
81 |
АИР56А4 |
0,12 |
12,5 |
81 |
АИР56А4 |
0,12 |
16 |
70 |
АИР56А4 |
0,12 |
двухступенчатые |
18 |
62 |
АИР56А4 |
0,12 |
750 |
96 |
7 |
22,4 |
74 |
АИР56В4 |
0,18 |
28 |
83 |
АИР63А4 |
0,25 |
35,5 |
66 |
АИР63А4 |
0,25 |
45 |
77 |
АИР63В4 |
0,37 |
56 |
61 |
АИР63В4 |
0,37 |
71 |
72 |
АИР63В2 |
0,55 |
90 |
57 |
АИР63В2 |
0,55 |
одноступенчатые |
112 |
64 |
АИР80А6 |
0,75 |
600 |
97 |
8 |
140 |
73 |
АИР80А4 |
1,1 |
180 |
78 |
АИР80В4 |
1,5 |
224 |
63 |
АИР80А2 |
1,5 |
280 |
73 |
АИР80В2 |
2,2 |
МОТОР-РЕДУКТОР ЗМП-31,5 |
Номинальная частота вращения выходного вала, об/мин |
Номинальный крутящий момент на выходном валу, Н.м |
Комплектующий электродвигатель |
Допускаемая радиально-консольная нагрузка на выходном валу, Н |
КПД редукторной части, % |
Масса редукторной части, кг (не более) |
Марка |
Мощность, кВт |
трехступенчатые |
3,55 |
230 |
АИР63А6 |
0,18 |
3500 |
96 |
24 |
4,4 |
210 |
АИР63А6 |
0,18 |
5,6 |
195 |
АИР63А6 |
0,18 |
7,1 |
230 |
АИР63А4 |
0,25 |
9 |
180 |
АИР63А4 |
0,25 |
12,5 |
180 |
АИР63А4 |
0,25 |
16 |
210 |
АИР63А2 |
0,37 |
двухступенчатые |
18 |
190 |
АИР80А8 |
0,37 |
3300 |
97 |
19 |
130 |
АИР71В8 |
0,25 |
22,4 |
225 |
АИР80В8 |
0,55 |
105 |
АИР71В8 |
0,25 |
28 |
180 |
АИР71В6 |
0,55 |
120 |
АИР71А6 |
0,37 |
35,5 |
195 |
АИР71В4 |
0,75 |
145 |
АИР71А4 |
0,55 |
45 |
160 |
АИР71В4 |
0,75 |
115 |
АИР71А4 |
0,55 |
56 |
180 |
АИР71В2 |
1,1 |
120 |
АИР71А2 |
0,75 |
71 |
195 |
АИР80А2 |
1,5 |
145 |
АИР71В2 |
1,1 |
90 |
225 |
АИР80В2 |
2,2 |
115 |
АИР71В2 |
1,1 |
одноступенчатые |
112 |
185 |
АИР100LА6 |
2,2 |
1800 |
98 |
23 |
125 |
АИР90L6 |
1,5 |
140 |
200 |
АИР100S4 |
3 |
145 |
АИР90L4 |
2,2 |
180 |
210 |
АИР100L4 |
4 |
115 |
АИР90L4 |
2,2 |
280 |
185 |
АИР100L2 |
5,5 |
135 |
АИР100S2 |
4 |
МОТОР-РЕДУКТОР 3МП-40 |
Номинальная частота вращения выходного вала, об/мин |
Номинальный крутящий момент на выходном валу, Н.м |
Комплектующий электродвигатель |
Допускаемая радиально-консольная нагрузка на выходном валу, Н |
КПД редукторной части, % |
Масса редукторной части, кг (не более) |
Марка |
Мощность, кВт |
трехступенчатые |
3,55 |
375 |
АИР63А6 |
0,18 |
4540 |
96 |
35 |
4,4 |
330 |
АИР63А6 |
0,18 |
5,6 |
375 |
АИР63В6 |
0,25 |
7,1 |
375 |
АИР63В4 |
0,37 |
9 |
330 |
АИР63В4 |
0,37 |
12,5 |
375 |
АИР63В2 |
0,55 |
16 |
330 |
АИР63В2 |
0,55 |
двухступенчатые |
18 |
375 |
АИР90LA8 |
0,75 |
4200 |
97 |
32 |
280 |
АИР80В8 |
0,55 |
22,4 |
375 |
АИР80В6 |
1,1 |
225 |
АИР71В6 |
0,55 |
28 |
364 |
АИР80В6 |
1,1 |
250 |
АИР80А6 |
0,75 |
35,5 |
375 |
АИР80В4 |
1,5 |
285 |
АИР80А4 |
1,1 |
45 |
308 |
АИР80В4 |
1,5 |
225 |
АИР80А4 |
1,1 |
56 |
365 |
АИР90L4 |
2,2 |
248 |
АИР80В4 |
1,5 |
71 |
375 |
АИР90L2 |
3 |
280 |
АИР80В2 |
2,2 |
90 |
310 |
АИР90L2 |
3 |
225 |
АИР80В2 |
2,2 |
одноступенчатые |
112 |
340 |
АИР112МВ6 |
4 |
2400 |
98 |
35 |
250 |
АИР112МА6 |
3 |
140 |
340 |
АИР132S6 |
5,5 |
260 |
АИР112МВ6 |
4 |
180 |
375 |
АИР132S4 |
7,5 |
235 |
АИР112М4 |
5,5 |
224 |
375 |
АИР132S4 |
7,5 |
230 |
АИР112М4 |
5,5 |
280 |
375 |
АИР132М4 |
11 |
250 |
АИР132S4 |
7,5 |
МОТОР-РЕДУКТОР 3МП-50 |
Номинальная частота вращения выходного вала, об/мин |
Номинальный крутящий момент на выходном валу, Н.м |
Комплектующий электродвигатель |
Допускаемая радиально-консольная нагрузка на выходном валу, Н |
КПД редукторной части, % |
Масса редукторной части, кг (не более) |
Марка |
Мощность, кВт |
трехступенчатые |
3,55 |
605 |
АИР71В8 |
0,25 |
6550 |
96 |
53 |
459 |
АИР63А6 |
0,18 |
4,4 |
700 |
АИР80А8 |
0,37 |
550 |
АИР71В8 |
0,25 |
5,6 |
750 |
АИР71В6 |
0,55 |
570 |
АИР71А6 |
0,37 |
7,1 |
695 |
АИР71А4 |
0,55 |
9 |
750 |
АИР71В4 |
0,75 |
555 |
АИР71А4 |
0,55 |
12,5 |
750 |
АИР71А2 |
1,1 |
525 |
АИР71В2 |
0,75 |
16 |
650 |
АИР71В2 |
1,1 |
445 |
АИР71А2 |
0,75 |
двухступенчатые |
18 |
750 |
АИР100L8 |
1,5 |
6420 |
97 |
48 |
570 |
АИР90LB8 |
1,1 |
22,4 |
750 |
АИР100L6 |
2,2 |
570 |
АИР90L6 |
1,5 |
28 |
730 |
АИР100L6 |
2,2 |
495 |
АИР90L6 |
1,5 |
35,5 |
750 |
АИР100S4 |
3 |
570 |
АИР90L4 |
2,2 |
45 |
660 |
АИР100S4 |
3 |
480 |
АИР90L4 |
2,2 |
56 |
680 |
АИР100L4 |
4 |
510 |
АИР100S4 |
3 |
71 |
730 |
АИР100L2 |
5,5 |
530 |
АИР100S2 |
4 |
90 |
570 |
АИР100L2 |
5,5 |
415 |
АИР100S2 |
4 |
одноступенчатые |
112 |
620 |
АИР132M6 |
7,5 |
3430 |
98 |
55 |
455 |
АИР132S6 |
5,5 |
140 |
750 |
АИР160S6 |
11 |
510 |
АИР132M6 |
7,5 |
180 |
750 |
АИР160S4 |
15 |
570 |
АИР132M4 |
11 |
224 |
610 |
АИР160S4 |
15 |
450 |
АИР132M4 |
11 |
МОТОР-РЕДУКТОР 3МП-63 |
Номинальная частота вращения выходного вала, об/мин |
Номинальный крутящий момент на выходном валу, Н.м |
Комплектующий электродвигатель |
Допускаемая радиально-консольная нагрузка на выходном валу, Н |
КПД редукторной части, % |
Масса редукторной части, кг (не более) |
Марка |
Мощность, кВт |
трехступенчатые |
3,55 |
944 |
АИР80А8 |
0,37 |
8500 |
95 |
70 |
1403 |
АИР80В8 |
0,55 |
4,4 |
762 |
АИР80А8 |
0,37 |
1132 |
АИР80В8 |
0,55 |
5,6 |
890 |
АИР71В6 |
0,55 |
1213 |
АИР80А6 |
0,75 |
7,1 |
957 |
АИР71В4 |
0,75 |
1403 |
АИР80А4 |
1,1 |
9 |
1107 |
АИР80А4 |
1,1 |
1510 |
АИР80В4 |
1,5 |
12,5 |
1087 |
АИР80В4 |
1,5 |
1594 |
АИР90L4 |
2,2 |
16 |
849 |
АИР80А2 |
1,5 |
1246 |
АИР80В2 |
2,2 |
двухступенчатые |
18 |
1131 |
АИР112МА8 |
2,2 |
8000 |
96 |
85 |
1542 |
АИР112МВ8 |
3 |
22,4 |
1239 |
АИР112М6 |
3 |
1652 |
АИР112МВ6 |
4 |
28 |
991 |
АИР112М6 |
3 |
1322 |
АИР112МВ6 |
4 |
35,5 |
1043 |
АИР100L4 |
4 |
1434 |
АИР112М4 |
5,5 |
45 |
1131 |
АИР112L4 |
5,5 |
1542 |
АИР132S4 |
7,5 |
56 |
909 |
АИР112L4 |
5,5 |
1239 |
АИР132S4 |
7,5 |
71 |
977 |
АИР112М2 |
7,5 |
1434 |
АИР132М2 |
11 |
90 |
771 |
АИР112М2 |
7,5 |
1131 |
АИР132М2 |
11 |
одноступенчатые |
112 |
1265 |
АИР160М6 |
15 |
5300 |
97 |
90 |
1561 |
АИР180S6 |
18,5 |
140 |
1012 |
АИР160М6 |
15 |
1248 |
АИР180S6 |
18,5 |
180 |
1155 |
АИР180S4 |
22 |
1575 |
АИР180М4 |
30 |
224 |
1265 |
АИР180М4 |
30 |
1561 |
АИР200М4 |
37 |
280 |
1012 |
АИР180М4 |
30 |
1248 |
АИР200М4 |
37 |
МОТОР-РЕДУКТОР 3МП-80 |
Номинальная частота вращения выходного вала, об/мин |
Номинальный крутящий момент на выходном валу, Н.м |
Комплектующий электродвигатель |
Допускаемая радиально-консольная нагрузка на выходном валу, Н |
КПД редукторной части, % |
Масса редукторной части, кг (не более) |
Марка |
Мощность, кВт |
трехступенчатые |
3,55 |
1975 |
АИР90LА8 |
0,75 |
11000 |
96 |
150 |
1450 |
АИР80В8 |
0,55 |
4,4 |
1593 |
АИР90LА8 |
0,75 |
1168 |
АИР80В8 |
0,55 |
5,6 |
1836 |
АИР80В6 |
1,1 |
1252 |
АИР80А6 |
0,75 |
7,1 |
1975 |
АИР80В4 |
1,5 |
1450 |
АИР80А4 |
1,1 |
9 |
2285 |
АИР90L4 |
2,2 |
1558 |
АИР80В4 |
1,5 |
12,5 |
2244 |
АИР90L2 |
3 |
1645 |
АИР80В2 |
2,2 |
16 |
1752 |
АИР90L2 |
3 |
1285 |
АИР80В2 |
2,2 |
двухступенчатые |
18 |
2077 |
4АМ132S8 |
4 |
11000 |
97 |
170 |
1558 |
4АМ112MB8 |
3 |
22,4 |
2295 |
4АМ132S6 |
5,5 |
1669 |
4АМ112MB6 |
4 |
28 |
1836 |
4АМ132S6 |
5,5 |
1335 |
4АМ112MB6 |
4 |
35,5 |
1975 |
4АМ132S4 |
7,5 |
1450 |
4АМ112L4 |
5,5 |
45 |
2285 |
4АМ132M4 |
11 |
1558 |
4АМ132S4 |
7,5 |
56 |
1836 |
4АМ132M4 |
11 |
1252 |
4АМ132S4 |
7,5 |
71 |
1975 |
4АМ160S2 |
15 |
1450 |
4АМ132M2 |
11 |
90 |
1558 |
4АМ160S2 |
15 |
1142 |
4АМ132M2 |
11 |
одноступенчатые |
112 |
1836 |
4АМ180M6 |
22 |
7500 |
98 |
200 |
1544 |
4АМ180S6 |
18,5 |
140 |
2000 |
4АМ200L6 |
30 |
1470 |
4АМ200M6 |
22 |
180 |
1920 |
4АМ200М4 |
37 |
1555 |
4АМ180М4 |
30 |
224 |
1875 |
АМУ225М4 |
45 |
1541 |
4АМ200М4 |
37 |
280 |
1518 |
АИР200L4 |
45 |
МОТОР-РЕДУКТОР 3МП-100 |
Номинальная частота вращения выходного вала, об/мин |
Номинальный крутящий момент на выходном валу, Н.м |
Комплектующий электродвигатель |
Допускаемая радиально-консольная нагрузка на выходном валу, Н |
КПД редукторной части, % |
Масса редукторной части, кг (не более) |
Марка |
Мощность, кВт |
трехступенчатые |
3,55 |
3950 |
АИР100L8 |
1,5 |
13000 |
96 |
310 |
2897 |
АИР90LB8 |
1,1 |
4,4 |
3187 |
АИР100L8 |
1,5 |
2338 |
АИР90LB8 |
1,1 |
5,6 |
3673 |
АИР100LA6 |
2,2 |
2504 |
АИР90L6 |
1,5 |
7,1 |
3950 |
АИР100S4 |
3 |
2897 |
АИР90L4 |
2,2 |
9 |
4155 |
АИР100L4 |
4 |
3116 |
АИР100S4 |
3 |
12,5 |
4114 |
АИР100L2 |
5,5 |
2995 |
АИР100S2 |
4 |
16 |
3214 |
АИР100L2 |
5,5 |
2338 |
АИР100S2 |
4 |
двухступенчатые |
18 |
3895 |
4А160S8 |
7,5 |
13000 |
97 |
290 |
2857 |
4А132M8 |
5,5 |
22,4 |
4591 |
4А160S6 |
11 |
3130 |
4А132M6 |
7,5 |
28 |
3673 |
4А160S6 |
11 |
2504 |
4А132M6 |
7,5 |
35,5 |
3950 |
4А160S4 |
15 |
2897 |
4А132M4 |
11 |
45 |
4570 |
4А180S4 |
22 |
3115 |
4А160S4 |
15 |
56 |
3672 |
4А180S4 |
22 |
2503 |
4А160S4 |
15 |
71 |
3950 |
4А180M2 |
30 |
2897 |
4А180S2 |
22 |
90 |
3116 |
4А180M2 |
30 |
2285 |
4А180S2 |
22 |
одноступенчатые |
112 |
3756 |
4А250S6 |
45 |
13000 |
98 |
280 |
3088 |
4А225M6 |
37 |
140 |
3673 |
4А250M6 |
55 |
3005 |
4А250S6 |
45 |
180 |
3895 |
4А250S4 |
75 |
2856 |
4А225M4 |
55 |
224 |
3756 |
4А250M4 |
90 |
3130 |
4А250S4 |
75 |
280 |
3037 |
4А250M4 |
90 |
2531 |
4А250S4 |
75 |
МОТОР-РЕДУКТОР 3МП-125 |
Номинальная частота вращения выходного вала, об/мин |
Номинальный крутящий момент на выходном валу, Н.м |
Комплектующий электродвигатель |
Допускаемая радиально-консольная нагрузка на выходном валу, Н |
КПД редукторной части, % |
Масса редукторной части, кг (не более) |
Марка |
Мощность, кВт |
трехступенчатые |
3,55 |
7900 |
АИР112МВ8 |
3 |
18500 |
96 |
380 |
5795 |
АИР112МА8 |
2,2 |
4,4 |
6375 |
АИР112МВ8 |
3 |
4675 |
АИР112МА8 |
2,2 |
5,6 |
6678 |
АИР112МВ6 |
4 |
5000 |
АИР112М6 |
3 |
7,1 |
7242 |
АИР112М4 |
5,5 |
5267 |
АИР100L4 |
4 |
9 |
7792 |
4А132S4 |
7,5 |
5714 |
АИР112М4 |
5,5 |
12,5 |
8228 |
4А132М2 |
11 |
5610 |
АИР112М2 |
7,5 |
16 |
6428 |
4А132М2 |
11 |
4382 |
АИР112М2 |
7,5 |
двухступенчатые |
18 |
7792 |
4А180S8 |
15 |
18500 |
97 |
360 |
5714 |
4А160M8 |
11 |
22,4 |
9180 |
4А200M6 |
22 |
6261 |
4А160M6 |
15 |
28 |
7346 |
4А200M6 |
22 |
5000 |
4А160M6 |
15 |
35,5 |
7900 |
4A180M4 |
30 |
5795 |
4А180S4 |
22 |
45 |
9350 |
4А200M4 |
45 |
6233 |
4А180M4 |
30 |
56 |
7513 |
4А200M4 |
45 |
5000 |
4А180M4 |
30 |
71 |
7242 |
4А225M2 |
55 |
5926 |
4А200L2 |
45 |
90 |
5713 |
4А225M2 |
55 |
4675 |
4А200L2 |
45 |
одноступенчатые |
112 |
7513 |
4А280M6 |
90 |
18500 |
98 |
350 |
6261 |
4А280S6 |
75 |
140 |
6015 |
4А280M6 |
90 |
5000 |
4А280S6 |
75 |
180 |
6856 |
4А280M4 |
132 |
5713 |
4А280S4 |
110 |
224(280) |
5509 |
4А280M4 |
132 |
4592 |
4А280S4 |
110 |
ГАБАРИТНЫЕ И ПРИСОЕДИНИТЕЛЬНЫЕ РАЗМЕРЫ МОТОР-РЕДУКТОРОВ 3МП

ГАБАРИТНЫЕ И ПРИСОЕДИНИТЕЛЬНЫЕ РАЗМЕРЫ МОТОР-РЕДУКТОРОВ 3МП (ИСПОЛНЕНИЕ- НА ЛАПАХ)
Обозначение мотор-редуктора |
Частота вращения выходного вала, об/мин |
L |
B |
H |
L 1 |
L 2 |
B 1 |
B 2 |
H 1 |
H 2 |
H 3 |
d1 |
Не более |
3МП-25 |
3,55…16 |
397 |
150 |
160 |
63 |
110 |
120 |
150 |
80 |
12 |
- |
12 |
18…90 |
417 |
160 |
171 |
- |
112…280 |
478 |
200 |
205 |
20 |
3МП-31,5 |
3,55…16 |
460 |
190 |
215 |
86 |
130 |
155 |
190 |
100 |
15 |
- |
15 |
18…90 |
510 |
200 |
225 |
- |
112…280 |
590 |
250 |
247 |
25 |
3МП-40 |
3,55…16 |
500 |
224 |
247 |
110 |
170 |
180 |
220 |
112 |
22 |
- |
20 |
18…90 |
625 |
250 |
247 |
- |
112…280 |
725 |
350 |
305 |
63 |
3МП-50 |
3,55…16 |
637 |
270 |
295 |
145 |
210 |
220 |
266 |
132 |
22 |
- |
22 |
18…90 |
682 |
270 |
295 |
- |
112…280 |
925 |
350 |
360 |
43 |
3МП-63 |
3,55…16 |
652 |
350 |
345 |
147 |
230 |
260 |
325 |
160 |
32 |
- |
24 |
18…90 |
741 |
350 |
345 |
- |
112…280 |
960 |
400 |
440 |
- |
3МП-80 |
3,55…16 |
810 |
380 |
400 |
175 |
325 |
320 |
380 |
200 |
40 |
- |
35 |
18…90 |
915 |
380 |
420 |
- |
112…280 |
1240 |
550 |
510 |
75 |
3МП-100 |
3,55…16 |
850 |
415 |
420 |
200 |
340 |
340 |
415 |
235 |
40 |
- |
35 |
18…90 |
1080 |
415 |
485 |
- |
112…280 |
1305 |
550 |
570 |
40 |
3МП-125 |
3,55…16 |
1070 |
500 |
540 |
270 |
380 |
400 |
500 |
275 |
50 |
- |
42 |
18…90 |
1360 |
535 |
570 |
- |
112…280 |
1415 |
590 |
630 |
20 |

ГАБАРИТНЫЕ И ПРИСОЕДИНИТЕЛЬНЫЕ РАЗМЕРЫ МОТОР-РЕДУКТОРОВ 3МП (ИСПОЛНЕНИЕ- НА ФЛАНЦЕ)
Обозначение мотор-редуктора |
Частота вращения выходного вала, об/мин |
L |
B |
L 3 |
L 4 |
L 5 |
D |
D 1 |
D 2 |
d 2 |
n |
Не более |
3МП-25 |
3,55…16 |
397 |
150 |
4 |
10 |
50 |
155 |
110 |
130 |
12 |
4 |
18…90 |
417 |
160 |
112…280 |
478 |
200 |
3МП-31,5 |
3,55…16 |
460 |
190 |
5 |
12 |
68 |
180 |
130 |
155 |
12 |
6 |
18…90 |
510 |
200 |
112…280 |
590 |
250 |
3МП-40 |
3,55…16 |
500 |
224 |
6 |
16 |
90 |
200 |
130 |
165 |
15 |
6 |
18…90 |
625 |
250 |
112…280 |
725 |
350 |
3МП-50 |
3,55…16 |
637 |
270 |
8 |
18 |
124 |
250 |
180 |
215 |
17 |
6 |
18…90 |
682 |
270 |
112…280 |
925 |
350 |
3МП-63 |
3,55…16 |
652 |
350 |
8 |
20 |
124 |
300 |
230 |
265 |
19 |
6 |
18…90 |
741 |
350 |
112…280 |
960 |
400 |
3МП-80 |
3,55…16 |
810 |
400 |
10 |
22 |
152 |
400 |
320 |
350 |
22 |
6 |
18…90 |
915 |
400 |
112…280 |
1240 |
550 |
3МП-100 |
3,55…16 |
850 |
500 |
14 |
28 |
180 |
500 |
400 |
450 |
22 |
8 |
18…90 |
1080 |
500 |
112…280 |
1305 |
550 |
3МП-125 |
3,55…16 |
1070 |
600 |
18 |
35 |
245 |
600 |
480 |
540 |
26 |
8 |
18…90 |
1360 |
600 |
112…280 |
1415 |
600 |

ПРИСОЕДИНИТЕЛЬНЫЕ РАЗМЕРЫ ЦИЛИНДРИЧЕСКИХ ВАЛОВ МОТОР-РЕДУКТОРОВ 3МП
Мотор-редуктор |
d |
d1 |
l |
l1 |
b |
t |
3МП-25 |
25 |
М16х1,5 |
60 |
42 |
5 |
13,45 |
3МП-31,5 |
28 |
М16х1,5 |
60 |
42 |
5 |
14,95 |
3МП-40 |
35 |
М20х1,5 |
80 |
58 |
6 |
18,55 |
3МП-50 |
45 |
М30х2,0 |
110 |
82 |
12 |
23,45 |
3МП-63 |
55 |
М36х3,0 |
110 |
82 |
14 |
28,95 |
3МП-80 |
70 |
М48х3,0 |
140 |
105 |
18 |
36,38 |
3МП-100 |
80 |
М56х4,0 |
170 |
130 |
20 |
41,25 |
3МП-125 |
110 |
М80х4,0 |
210 |
165 |
25 |
55,88 |

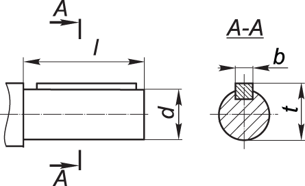
ПРИСОЕДИНИТЕЛЬНЫЕ РАЗМЕРЫ КОНИЧЕСКИХ ВАЛОВ МОТОР-РЕДУКТОРОВ 3МП
Мотор-редуктор |
d |
l |
b |
t |
3МП-25 |
25k6 |
42 |
8 |
28 |
3МП-31,5 |
28k6 |
60 |
8 |
31 |
3МП-40 |
35k6 |
80 |
10 |
38 |
3МП-50 |
45k6 |
110 |
14 |
48,5 |
3МП-63 |
55k6 |
110 |
16 |
59 |
3МП-80 |
70k6 |
140 |
20 |
74,5 |
3МП-100 |
80k6 |
160 |
22 |
85 |
3МП-125 |
110k6 |
220 |
28 |
116 |

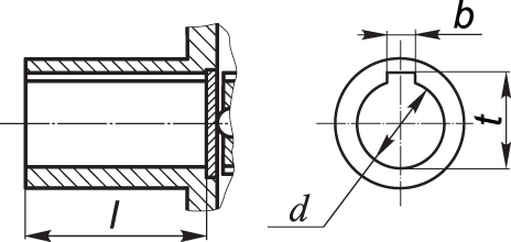
ПРИСОЕДИНИТЕЛЬНЫЕ РАЗМЕРЫ ПОЛЫХ ВАЛОВ МОТОР-РЕДУКТОРОВ 3МП
Мотор-редуктор |
d |
l |
b |
t |
3МП-25 |
по индивидуальному заказу |
3МП-31,5 |
25Н7 |
55 |
8 |
28,1 |
3МП-40 |
30Н7 |
70 |
8 |
33,1 |
3МП-50 |
40Н7 |
80 |
12 |
43,3 |
3МП-63 |
по индивидуальному заказу |
3МП-80 |
по индивидуальному заказу |
3МП-100 |
по индивидуальному заказу |
3МП-125 |
по индивидуальному заказу |
Монтажное положение в пространстве

Мы доставляем планетарные мотор-редукторы 3МП-31,5, 3МП-40, 3МП-50, 3МП-63, 3МП-80, 3МП-100, 3МП-125 транспортными компаниями во все регионы России:
Приводная техника (мотор-редуктор, преобразователь частоты и устройство плавного пуска) отправляется покупателю транспортной компанией. По всем вопросам обращаться в офис.
Мы всегда рады видеть у себя наших старых партнеров и ждем новых.
Доставка во все регионы России!
|
 |
 |
|
|